公司新闻
当前位置:网站首页 > 新闻中心 > 1946伟德bet

压铸模具的基本结构

作者:  来源:  更新时间:2018-9-5 8:29:38  点击次数:
压铸模具是由定模和动模两个主要部分组成的。定模固定在压铸机压室一方的定模模座上,是金属液压入压铸模具型腔的一侧,也包含部分压铸模具型腔,定模上有直浇道直接与压铸机的压室或喷嘴相连接;动模固定在压铸机的动模模座上,随动模模座移动与定模分开、合拢,对于需要设抽芯机构的模具,抽芯和铸件顶出机构通常也设在动模内。

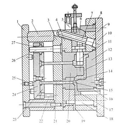
压铸模具的基本结构如图所示


1—动模座板   2—垫块   3—动模支承板   4—动模套板   5—抽芯限位挡块6— 抽芯滑块   7—抽芯斜销   8—楔紧块   9—定模套板   10—定模座板  11—侧抽型芯  12—定模镶块   13—型腔  14—内浇道   15—横浇道   16—浇口套   17—直浇道  18—导柱   19—导套   20—动模镶块   21—推杆   22—复位杆   23—推杆固定板  24—推板   25—挡钉   26— 推板导柱  27—推板导套

一套模具通常包括以下几个部分的结果单元:

1、成型部分
在定模与动模合拢后,成形一个构成铸件形状的空腔,称为型腔。按压铸件结构不同,型腔可以全部设在定模或动模内,或定、动模内各占一部分,构成型腔的零件即为成型零件。成型零件包括固定和活动的镶块与型芯,如图中的11、12、20所示。此外,浇注系统和排溢系统也是型腔的一部分。

2、模架
包括各种模板、座、架等构架零件。作用是将模具各部分按要求的相互位置装配和固定,并能使模具安装到压铸机上,图的1、2、3、4、9、10、18、19就属于这类零件。

3、导向零件
图中的18、19为导向零件,其作用是引导动模和定模合拢或分离,并保证分合模的精度要求。

4、推出机构
这是将铸件从模具中推出的机构,包括顶出和复位零件,还包括机构自身的导向和定位零件。如图中的21、22、23、24、25、26、27,对于重要和易损处(如浇道、浇口)的推杆,应采取与成型零件相同的材料来制造。

5、浇注系统
它是型腔与压室或喷嘴相连的通道,引导金属液按规定的方向进入模具的型腔,且直接影响金属液进入成型部分的速度和压力,由直浇道,横浇道和内浇道组成,如图中14、15、16、17所示。

6、排溢系统
是指排气槽和溢流槽系统。排气槽是排除压室、浇道和型腔中气体的通道;而溢流槽是储存冷金属盒涂料余烬的小空腔,溢流槽还具有调节模具温度的作用,有时在难以排气的深腔部位设置通气塞,借以改善该处的排气条件。

7、抽芯机构
对某些铸件,当型芯抽出方向与开合模方向不一致时,还需要在模具上设抽芯机构,以便将铸件从模具中取出,如图中的5、6、7、8、11所示。抽芯机构也是压铸模具中十分重要的结构单元,其形式是多种多样的。

8、冷却—加热装置
为了保持模具温度场的分布符合工艺的需要,有时模具内要设置冷却装置或冷却—加热装置,这对实现科学的控制工艺参数和确保铸件质量尤其重要。具有良好的冷却(或冷却—加热)系统的模具,其寿命可以大大延长。

9、其它
包括将各结构单元联接固定的螺栓以及定位和导销等。
本文链接://m.yuanshoubo.com//news/news201895797.html
上一篇:没有了!
下一篇:压铸模具热处理技术

相关文章

伟德平台“五一劳动节”放假通知-2020-04-29
伟德平台郑重声明-2019-09-11
压铸模具疲劳失效导致报废的原因-2019-09-04
铝合金压铸模具的标准检测方法-2019-07-03
压铸模具的基本结构-2018-09-05
压铸模具表面氧化的原因和解决方法-2024-04-08
压铸模具热处理技术-2024-04-07
2019年第十三届中国国际压铸工业展览会-2019-04-09
压铸模具行业的发展前景-2019-04-02
压铸模具的优点-2019-03-26
压铸模具出现浇铸不足的原因-2019-03-19
铝压铸件表面处理工艺-2019-03-05
压铸模具的冷却方式-2019-02-20
压铸模具表面强化处理工艺-2019-01-15
如何节省开压铸模具的成本?-2019-01-08

联系人:周银三(经理)

手机:13758721085

电话:0577-86890469

传真:0577-86899653

扫一扫
地址:平阳县滨海新区万洋众创城横屿路16号D10—26幢
浙江互利压铸模具加工厂的营业范围:压铸模具 压铸模具加工 低压压铸 压铸加工 温州压铸厂 专业制造压铸模具
Copyright © 2019 版权所有 伟德平台 浙ICP备17042427号-1 浙公网安备33030302231212号 网站地图
Baidu
map